2025年10月31日
TE2025年10月30日
罗克韦尔2025年10月24日
采埃孚2025年10月24日
兆易创新2025年10月24日
欣旺达2025年10月27日
魏德米勒
2025年10月22日
倍福
2025年10月16日
罗克韦尔
2025年10月16日
明珞装备
2025年10月11日
EMAG
2025年10月31日
海克斯康
2025年10月24日
Melexis
2025年10月24日
倍加福
2025年10月23日
科尔摩根
2025年10月23日
海康机器人
设计了一种能够实现以1°为单位的水平方向和垂直方向的任意角度旋转定位的夹具,该夹具适用于汽车制动主缸体斜孔加工及其他具有类似结构但斜孔角度变化的多品种产品的定位加工,在不同角度的产品切换时就不再需要更换不同夹具进行调整操作,使用这一套夹具进行微调后可适应不同规格的产品使用。
前言
在加工汽车柱塞式制动主缸体(以下简称主缸体)斜孔(见图1中的φ3mm±φ0.01mm尺寸)时,因主缸体中斜孔的角度、安装孔的间距等在不同规格的产品中的位置和角度不同,所以作为多品种大批量或小批量试制的主缸体,经常要进行不同产品的切换调整。当某个型号的主缸体斜孔加工完成后,在更换另一个型号的主缸体时,要根据斜孔的角度和定位孔的间距来更换加工所使用的夹具。在使用传统的夹具(见图2)过程中,涉及到夹具的拆卸、安装、找正、对零点和试切等操作[1],整个切换调整的时间很长,严重影响生产节拍。

图1 主缸体尺寸

图2 传统夹具装夹
目的和意义
根据实际的产品加工情况,为了更快更方便地切换调整不同产品,设计了一种可实现旋转定位的夹具,该夹具能够实现以1°为单位的水平方向和垂直方向的任意角度旋转。只要在首次使用夹具时进行安装调整,在产品切换时就不再需要更换不同夹具进行调整操作,只要进行短时间的快速调整,即可适应不同规格的产品。
采用该夹具能够实现以1°为单位任意角度的旋转,来快速实现分度和定位,对于不同翻转角度、不同定位角度的产品可实现快速调整切换。调整节拍大大降低,对提高生产效率和新产品试制能力有很大的帮助。
设计原理和使用方法
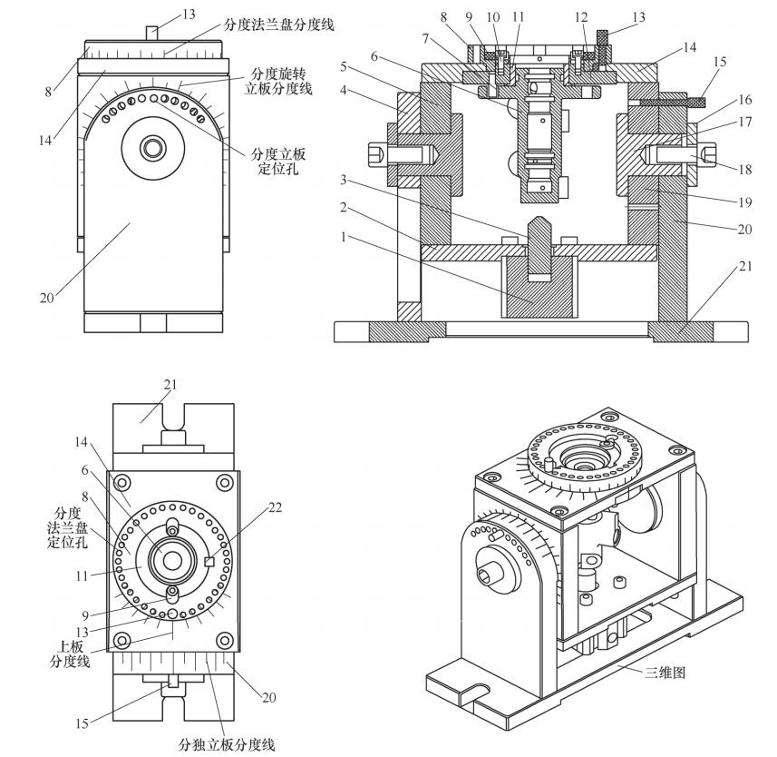
参照图3~图5,该夹具中分度旋转立板、旋转立板和旋转底板相互联接,并通过轴销与分度立板和支撑立板联接,同时可以绕着轴销旋转。上板通过螺栓和分度旋转立板及旋转立板联接,定位法兰盘和分度法兰盘分别装在上板的下面和上面,并通过压块由锁紧螺钉进行联接,定位法兰盘键槽和分度法兰盘键槽之间由键联结,两者之间不能绕轴线转动,当锁紧螺钉没有拧紧时,定位法兰盘和分度法兰盘可以一起在上板的内孔中旋转。在定位法兰盘的菱形定位销安装孔中装有菱形定位销,通过锁紧或松开顶丝可以安装或卸下菱形定位销,菱形定位销可以在不同的菱形定位销安装孔中安装。可更换定位套安装在定位法兰盘内孔中,能够根据工件的主孔外圆不同进行更换[2,3]。

图3 夹具
1—气缸 2—旋转底板 3—顶尖 4—支撑立板 5—旋转立板 6—工件 7—菱形定位销 8—分度法兰盘 9—压块 10—锁紧螺钉 11—可更换定位套 12—定位法兰盘 13—短定位销 14—上板 15—长分度定位销 16—垫片 17—轴销18—锁紧螺栓 19—分度旋转立板 20—分度立板 21—底板 22—键

图4 工件

图5 定位法兰盘
参见图3、图6和图7,分度立板的圆弧表面刻有分度立板分度线,圆周位置钻有11个11°分度立板定位孔。在分度旋转立板的圆周上以10°为间隔,均布36个分度旋转立板定位孔和分度旋转立板分度线,当某个分度立板定位孔和某个分度旋转立板定位孔对齐时,长分度定位销可穿过相应对齐的分度立板定位孔和分度旋转立板定位孔,分度旋转立板和分度立板之间位置固定,拧紧锁紧螺栓后,轴销和垫片将分度旋转立板和分度立板锁紧,两者之间不能转动,完成分度定位。

图6 分度立板

图7 分度旋转立板
参见图3、图8和图9,上板圆周位置刻有11条11°上板分度线,在上板分度线对应位置钻有11个上板定位孔。分度法兰盘上刻有36条10°均分的分度法兰盘分度线,对应分度法兰盘分度线位置钻有36个分度法兰盘定位孔。当上板和分度法兰盘之间的某个上板定位孔和某个分度法兰盘定位孔对齐时,短定位销插入到上板定位孔和分度法兰盘定位孔中,上板和分度法兰盘之间不能旋转,拧紧锁紧螺钉,定位法兰盘和分度法兰盘被锁紧在上板上,完成分度定位。

图8 分度法兰盘

图9 11°上板
分度定位的技术原理
通过分度旋转立板和分度立板之间的分度定位,以及上板和分度法兰盘之间的分度定位,可以实现某种产品空间位置分度定位。下面讲解本夹具是如何实现以1°为单位实现水平方向和垂直方向的分度和定位的。为了便于说明,把分度旋转立板上的分度旋转立板分度线做标记,以中间分度线为0位置,两边刻线依次为A、B、C、D、E和A′、B′、C′、D′、E′。分度立板上的中间分度立板分度线为0位置,两边刻线依次为F、G、H、I、J和F′、G′、H′、I′、J′(见图10)。

图10 分度定位原理
当分度旋转立板上的某条分度线(以分度旋转立板处于垂直位置的0分度线为例)和分度立板位置上的0度基准线对齐时,分度旋转立板的分度线A、B、C、D、E和分度立板的分度线F、G、H、I、J分别相差1°、2°、3°、4°、5°;当分度线A顺时针转到和分度线F对齐时,分度旋转立板顺时针旋转了1°,此时,A和F位置的定位孔同时对齐,将长分度定位销插入到A和F的位置的定位孔,实现1°分度和精确定位。以此类推,当B和G、C和H、D和I、E和J重合时分度旋转立板顺时针旋转了2°、3°、4°、5°,实现1°~5°分度和精准定位。
同理,分度旋转立板上的分度线A′、B′、C′、D′、E′和分度立板上的分度线F′、G′、H′、I′、J′分别相差1°、2°、3°、4°、5°;当A′和F′、B′和G′、C′和H′、D′和I′、E′和J′重合时,分度旋转立板逆时针旋转了1°、2°、3°、4°、5°,实现-1°~-5°分度和精准定位。
这样,就可以实现-5°~5°分度定位,具体的旋转方向要看需要的旋转角度的个位数是>5°还是<5°。
1)当角度个位数<5°时,例如,当需要顺时针旋转43°时,首先旋转分度旋转立板顺针时转动40°(每格10°),然后再以分度立板上对齐分度旋转立板的0°分度线为基准,顺时针转过3°,最后将长分度定位销插入到H位置即可。
2)当角度个位数>5°时,例如,当需要顺时针旋转58°时,首先旋转分度旋转立板顺时针转动60°,然后再以分度立板上对齐分度旋转立板的0°分度线为基准,逆时针转过2°,最后将长分度定位销插入到G′位置即可。
3)当角度个位数=5°时,例如,当需要顺时针旋转35°时,首先旋转分度旋转立板顺时针转动30°,然后再以分度立板上对齐分度旋转立板的0°分度线为基准,顺时针转过5°,最后将长分度定位销插入到J位置即可(或顺时针旋转40°再逆时针旋转5°,将长分度定位销插入到J′位置即可)。
同理,逆时针旋转43°或58°时,旋转的方向对应的相反,即反则亦反。
根据该分度定位原理,上板和分度法兰盘之间同样可以实现以1°为单位的分度定位。
具体操作方法
以某一型号的工件(柱塞式主缸体)为例讲述该机构夹具的使用方法,该工件有1个斜孔需要加工(见图11),假设斜孔角度(斜孔和轴线的位置)为38°,定位角度(斜孔和工件定位孔的位置)为52°,由于该斜孔需要在立式加工中心上进行钻孔,所以要保证斜孔处于垂直位置。

图11 斜孔加工
假设调整夹具时的各分度线初始状态为任意位置。首先把长分度定位销和短定位销拔出来,松开锁紧螺钉、锁紧螺栓,根据工件主孔外圆尺寸选择对应的可更换定位套,将可更换定位套安装在定位法兰盘中,然后把工件装入到可更换定位套里,把菱形定位销安装到定位法兰盘的菱形定位销安装孔上(菱形定位销安装孔的位置和工件定位孔的距离相对应),通过顶丝锁紧菱形定位销、工件定位孔装入到菱形定位销上,转动工件,带动定位法兰盘和分度法兰盘一起旋转,把工件定位孔位置与上板分度线的0°分度线的位置对齐后,顺时针旋转40°,再以顺时针旋转40°后的分度法兰盘分度线和上板0°位置对齐为基准,逆时针旋转2°,之后将短定位销插入到分度法兰盘和定位法兰盘对应的定位孔中,拧紧锁紧螺钉,完成38°的分度和定位,之后通过气缸带动顶尖,夹紧工件。
接下来把旋转分度立板旋转到垂直位置,即分度立板和分度旋转立板的0°分度线对齐。逆时针转动分度立板至50°,再以分度旋转立板分度线对齐分度立板上0°分度线位置为基准,逆时针转过2°,之后把长分度定位销插入到对应的分度立板和分度旋转立板定位孔中。拧紧锁紧螺栓,完成工件的52°分度定位,工件斜孔处于垂直位置,可以对斜孔进行加工。夹具实物如图12所示。

图12 夹具实物
结束语
该夹具采用两组不同角度的分度线的组合,不仅实现了绕水平轴和垂直轴旋转定位,而且实现了某种产品不同位置的分度定位,以及1°为单位的任意角度旋转定位,满足了装夹定位或生产加工的需要。该机构能够代替传统分度定位方式所需要的大量夹具,结构紧凑实用,定位准确可靠,调整方便快捷,调整效率提高80%以上,减少了夹具制造的成本,便于工装夹具的使用管理。该夹具的设计原理对其他产品类似加工位置的装夹机构也有很好的借鉴作用。
参考文献:
[1] 李体仁. 数控加工工艺及实例详解[M]. 北京:化学工业出版社,2014.
[2] 吴宗泽,冼建生. 机械零件设计手册[M]. 2版. 北京:机械工业出版社,2013.
[3] 王金财. 组合夹具设计与组装技术 [M]. 北京:机械工业出版社,2015.
本文发表于《金属加工(冷加工)》2023年第2期54~58页,作者:东北工业集团有限公司 刘振利、陈强、刘振国、李政、黄向晨、曹凯、鲁云龙、黄忠,原标题:《制动主缸体斜孔加工夹具的设计应用》。